d41w通风蝶阀/d341w蜗轮通风蝶阀/d641w气动通风蝶阀/d941w电动通风蝶阀采用与阀体相同材料加工成密封圈,其适用温度随阀体选材而定,公称压力≤0.6mpa,一般适用于工业、冶金、环保等管道作通风调节介质流量之用。
通风蝶阀 主要特点
1、设计新颖、合理、结构独特,重量轻,启闭迅速。
2、操力矩小,操作方便,省力灵巧。
3、采用适应的材料以满足低、中、高不同介质温度其及腐蚀性介质等。


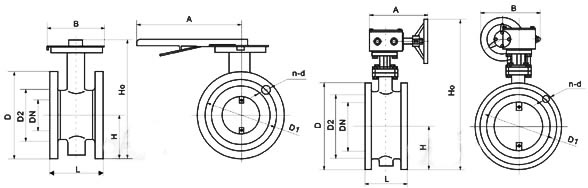
d641w气动通风蝶阀 d941w电动通风蝶阀
通风蝶阀 采用标准
设计标准:gb/t12238-1989 jb/t8692-1998
法兰连接尺寸:gb/t9115.1-2000
结构长度 :gb/t12221-1989
压力试验:gb/t13927-1992;jb/t9092-1999
通风蝶阀 主要技术参数
公称通径 | dn(mm) | 50~2000 | ||
公称压力 | pn(mpa) | 0.05 | 0.25 | 0.6 |
试验压力 | 强度试验 | 0.075 | 0.375 | 0.9 |
密封试验 | ≤1%泄漏量 | |||
适用介质 | 煤气、含尘气体、烟道气等。 | |||
驱动形式 | 手动、蜗杆蜗轮传动、气传动、电传动。 | |||
通风蝶阀 主要零件材质
零件名称 | 材料 |
阀体 | 铸钢、不锈钢、铬镍钼钛钢、铬钼钛钢等特殊材料 |
蝶板 | 铸钢、不锈钢、铬镍钼钛钢、铬钼钛钢等特殊材料 |
密封圈 | 与阀体相同 |
阀杆 | 碳钢、2cr13、不锈钢、铬镍钼钛钢 |
填料 | 氟塑料、柔性石墨 |
通风蝶阀 密封材料选用和适用温度
材料品种 | 碳素钢 | 低温碳钢 | 合金钢 | 奥氏体不锈钢 | 铬钼钢 | |
代号 | wcb | lcb | wc6或 wc9 | c5或or c12 | 铬cr-18型e、304、316 | 12crmov |
耐高温度 | 425℃ | 345℃ | 595℃ | 650℃ | 600℃ | 560℃ |
耐低温度e | -29℃ | -46℃ | -29℃ | -29℃ | -196℃ | -40℃ |
适用工作温度 | ≤425℃ | ≤345℃ | ≤595℃ | ≤650℃ | ≤600℃ | ≤560℃ |

通风蝶阀 外形尺寸
公称通径 | 结构长度 | 外形尺寸 | 连接尺寸(标准值) | 参考值 | |||||||||||
0.05mpa和0.25mpa | 0.6mpa | ||||||||||||||
毫米 | 英寸 | l | h | h0 | a | b | d | d1 | d2 | n-d | d | d1 | d2 | n-d | |
50 | 2 | 108 | 70 | 286 | 125 | 193 | 140 | 110 | 88 | 4-18 | 140 | 110 | 88 | 4-14 | 14 |
65 | 21/2 | 112 | 80 | 306 | 125 | 193 | 160 | 130 | 108 | 4-18 | 160 | 130 | 108 | 4-14 | 15 |
80 | 3 | 114 | 95 | 334 | 125 | 193 | 190 | 150 | 124 | 4-18 | 190 | 150 | 124 | 4-18 | 17 |
100 | 4 | 127 | 105 | 354 | 125 | 193 | 210 | 170 | 144 | 4-18 | 210 | 170 | 144 | 4-18 | 20 |
125 | 5 | 140 | 120 | 384 | 125 | 193 | 240 | 200 | 174 | 8-18 | 240 | 200 | 174 | 8-18 | 25 |
150 | 6 | 140 | 132 | 409 | 125 | 193 | 265 | 225 | 199 | 8-18 | 265 | 225 | 199 | 8-18 | 29 |
200 | 8 | 152 | 160 | 593 | 165 | 183 | 320 | 280 | 254 | 8-18 | 320 | 280 | 254 | 8-18 | 47 |
250 | 10 | 165 | 187 | 650 | 165 | 283 | 375 | 335 | 309 | 12-18 | 375 | 335 | 309 | 12-18 | 67 |
300 | 12 | 178 | 220 | 715 | 165 | 283 | 440 | 395 | 363 | 12-22 | 440 | 395 | 363 | 12-22 | 78 |
350 | 14 | 190 | 245 | 814 | 175 | 334 | 490 | 445 | 413 | 12-22 | 490 | 445 | 413 | 12-22 | 96 |
400 | 16 | 216 | 270 | 863 | 175 | 334 | 540 | 495 | 463 | 16-22 | 540 | 495 | 463 | 16-22 | 130 |
450 | 18 | 222 | 297 | 918 | 175 | 334 | 595 | 550 | 518 | 16-22 | 595 | 550 | 518 | 16-22 | 142 |
500 | 20 | 229 | 322 | 1016 | 210 | 425 | 645 | 600 | 568 | 20-22 | 645 | 600 | 568 | 20-22 | 191 |
600 | 24 | 267 | 377 | 1128 | 210 | 425 | 755 | 705 | 667 | 20-26 | 755 | 705 | 667 | 20-26 | 230 |
700 | 28 | 292 | 430 | 1233 | 210 | 425 | 860 | 810 | 772 | 24-26 | 860 | 810 | 772 | 24-26 | 250 |
800 | 32 | 318 | 487 | 1344 | 210 | 425 | 975 | 920 | 878 | 24-30 | 975 | 920 | 878 | 24-30 | 320 |
900 | 36 | 330 | 537 | 1560 | 320 | 620 | 1075 | 1020 | 978 | 24-30 | 1075 | 1020 | 978 | 24-30 | 410 |
1000 | 40 | 410 | 587 | 1660 | 320 | 620 | 1175 | 1120 | 1078 | 28-30 | 1175 | 1120 | 1078 | 28-30 | 510 |
1200 | 48 | 470 | 687 | 1890 | 320 | 620 | 1375 | 1320 | 1280 | 32-30 | 1405 | 1340 | 1295 | 32-33 | 720 |
1400 | 56 | 530 | 760 | 2670 | 575 | 714 | 1575 | 1520 | 1480 | 36-30 | 1630 | 1560 | 1510 | 36-36 | 1270 |
1600 | 64 | 600 | 895 | 2810 | 575 | 714 | 1790 | 1730 | 1690 | 40-30 | 1830 | 1760 | 1710 | 40-36 | 1730 |
1800 | 72 | 670 | 995 | 3020 | 575 | 714 | 1990 | 1930 | 1890 | 44-30 | 2045 | 1970 | 1918 | 44-39 | 2750 |
2000 | 80 | 760 | 1095 | 3220 | 656 | 810 | 2190 | 2130 | 2090 | 48-30 | 2265 | 2180 | 2125 | 48-42 | 3050 |
手机:15351513006
座机:0515-89118577
传真:0515-8911 8000
邮箱: jtongcn@126.com
地址: 江苏滨海经济开发区瓯北泵阀工业园

15351513006